智慧树知到《过程装备制造与检测(山东联盟)》章节测试答案



第四章单元测试

1、筒体采用卧式组装时,一般放都是在滚轮架上进行,并保证两筒节同轴并便于翻转。

A.正确

B.错误

正确答案:正确

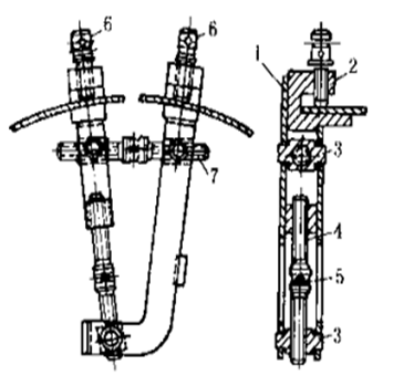
2、

智慧树知到《过程装备制造与检测(山东联盟)》章节测试答案

图示螺栓拉紧器,在筒节组装中可以调节()技术要求。

A.对口错变量

B.对口间隙

C.端面不平

D.直线度

正确答案:对口错变量;对口间隙;端面不平

3、

智慧树知到《过程装备制造与检测(山东联盟)》章节测试答案

图示螺栓拉紧器,可以调节筒节组装的()技术要求?

A.对口错变量

B.对口间隙

C.筒节端面不平

D.直线度

正确答案:对口间隙

4、相邻筒节A类接头可以对齐。

A.正确

B.错误

正确答案:错误

5、组装筒体中,为了节省材料单个筒节的长度没有限制。

A.正确

B.错误

正确答案:错误

6、在过程设备壳体上开设孔并安装接管,可能含有的工序有()。

A.划出开孔接管的四条中心线

B.划出开孔的切割线

C.接管内伸余量割去

D.压紧垫板使其与筒壁贴紧

正确答案:划出开孔接管的四条中心线;划出开孔的切割线;接管内伸余量割去

7、在设备壳体上安装鞍式支座可能包换的工序有工序()。

A.套入补强圈

B.划出弧形垫板装配位置线

C.用螺旋或锲铁压紧垫板使其与筒壁贴紧

D.在垫板上划出支座立板位置线

正确答案:划出弧形垫板装配位置线;用螺旋或锲铁压紧垫板使其与筒壁贴紧;在垫板上划出支座立板位置线

8、组装筒体中,任何单个筒节的长度不得小于()mm。

A.100

B.没有限制

C.500

D.300

正确答案:300

9、相邻筒节A类接头间外圆弧长,应大于钢板厚度δ的3倍,且不小于()mm。

A.100

B.300

C.250

D.500

正确答案:100

10、承受内压的容器组装完成后,卷焊式壳体圆度应不大于该断面内直径Di的(),且不大于25mm。

A.10%

B.1%

C.0.1%

D.5%

正确答案:1%

第五章单元测试

1、工件内部存在缺陷时,静态时也会发射声波,利用仪器对声发射信号进行分析就可了解缺陷的当前状态。

A.正确

B.错误

正确答案:错误

2、射线检测能确定缺陷平面投影的位置、大小,可获得缺陷平面图像并能据此判定缺陷的性质,射线检测适用于()的检测

A.锻件

B.管材

C.棒材

D.板材

正确答案:板材

3、常采用射线检测的接头有()。

A.T形焊接接头

B.角焊缝

C.对接接头

D.堆焊层

正确答案:对接接头

4、在超声检测中,用不到的装置有()。

A.探头

B.耦合剂

C.试块

D.像质计

正确答案:像质计

5、超声波探伤仪产生电振荡并加在探头上,使之产生超声波,同时又可以将探头接收的返回信号放大处理,以脉冲波、图像显示在荧光屏上,以便进一步分析判断被检对象的具体情况。